Beste fietsliefhebbers,
Kan iemand mij vertellen wat de orginele stuurpen is van een batavus professional (76)?
Ik kocht de fiets met een atax stuurpen en cinelli stuur wat naar mijn vermoeden nirt orgineel is .
Hoor graag van de kenners , zie foto's.
Opzoek naar orginele stuurpen van een Batavus professional (76)
Opzoek naar orginele stuurpen van een Batavus professional (76)
- Bijlagen
-
- 20251011_181633.jpg (148.35 KiB) 1456 keer bekeken
-
- 20250916_164528.jpg (220.26 KiB) 1456 keer bekeken
- marco verbaant
- Berichten: 1263
- Lid geworden op: 19 jul 2015, 22.49
Re: Opzoek naar orginele stuurpen van een Batavus professional (76)
conform de databank van onze vereniging en aldaar in de Batavus folder van 1976 te vinden was het stuur en de stuurnok van SR Sakae (en ook de zadelpen van deze Japanse firma.... 
Dus noch stuur noch nok was (als verwacht) origineel.... Upgrades naar de stuurcombinaties van Cinelli en/of 3TTT zullen vaak zijn toegepast door echte liefhebbers

Dus noch stuur noch nok was (als verwacht) origineel.... Upgrades naar de stuurcombinaties van Cinelli en/of 3TTT zullen vaak zijn toegepast door echte liefhebbers

"de waarde van een klassieke fiets zit in het hart, niet in een portemonnee"
Re: Opzoek naar orginele stuurpen van een Batavus professional (76)
Wat Marco zegt, de standaard optie was SR, maar ook toen al kon je de Professional laten afmonteren met onderdelen naar je eigen keuze. Mijn groene prof van dezelfde generatie heeft de SR zadelpen en stuurpen (de stuurpen met de iets meer verheven bout, iemand zei me ooit dat die alleen in 1975-76 werd geproduceerd maar weet dat niet zeker). Maar tegelijk ook een Bellerini stuurbocht, Mafac remmen, Shimano buiscommandeurs. Alles verder wel de originele afmontage zoals de eerste eigenaar het wilde...
Heb geen idee hoe oud die Atax stuurpen is. Maar als ie uit 1976 kan komen, is de vraag of je de fiets wil herstellen naar de standaard editie zoals in de folders of gewoon zo houden als de persoonlijke afmontage van toen...
Heb geen idee hoe oud die Atax stuurpen is. Maar als ie uit 1976 kan komen, is de vraag of je de fiets wil herstellen naar de standaard editie zoals in de folders of gewoon zo houden als de persoonlijke afmontage van toen...
Johan / algemeen fietsverslaafd, maar focus op Batavus racers / Mijn collectie op Instagram: @raptorlabz
- marco verbaant
- Berichten: 1263
- Lid geworden op: 19 jul 2015, 22.49
Re: Opzoek naar orginele stuurpen van een Batavus professional (76)
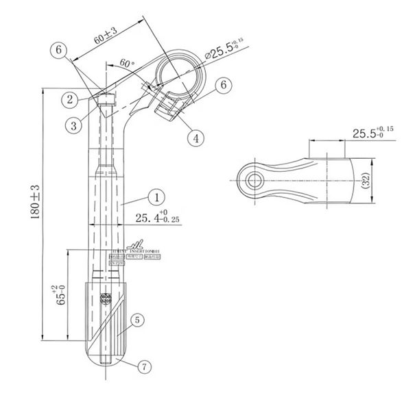
Je bedoelt iets dergelijks als bijgaande tekening...? Onder een hoek...? Of een verstelbare...?
Die lijkt me wel ouder...
- Bijlagen
-
- verhoogde stuurnok.png (103.55 KiB) 1126 keer bekeken
"de waarde van een klassieke fiets zit in het hart, niet in een portemonnee"
Re: Opzoek naar orginele stuurpen van een Batavus professional (76)
Nee letterlijk een iets meer verheven bout. Het model stuurpen zelf is gewoon hetzelfde als in andere jaren, maar gedurende een korte periode ('75-'76) schijnt SR een klembout met een wat bollere en meer glimmende kop te hebben gebruikt.marco verbaant schreef: ↑12 okt 2025, 12.50 Je bedoelt iets dergelijks als bijgaande tekening...? Onder een hoek...? Of een verstelbare...?
Maar zoals gezegd ben ik nu misschien een urban myth aan het verspreiden (mijn bron had het van een man die in de vroege periode bij Koga had gewerkt, die gebruikte de wat bollere kop als eerste herkenningspunt voor datering van een stuurpen/fiets

Johan / algemeen fietsverslaafd, maar focus op Batavus racers / Mijn collectie op Instagram: @raptorlabz
- marco verbaant
- Berichten: 1263
- Lid geworden op: 19 jul 2015, 22.49
Re: Opzoek naar orginele stuurpen van een Batavus professional (76)
Het zou zomaar zo kunnen zijn, ik heb er nog nooit vaan gehoord. Ken van SR wel de SL stuurbochten met een gravering van rond 1978, en van rond die tijd ook de zogenaamde "fluted" (uitgefreesde) stuurnokken.deraptor schreef: ↑12 okt 2025, 13.19
Nee letterlijk een iets meer verheven bout. Het model stuurpen zelf is gewoon hetzelfde als in andere jaren, maar gedurende een korte periode ('75-'76) schijnt SR een klembout met een wat bollere en meer glimmende kop te hebben gebruikt.
Maar zoals gezegd ben ik nu misschien een urban myth aan het verspreiden (mijn bron had het van een man die in de vroege periode bij Koga had gewerkt, die gebruikte de wat bollere kop als eerste herkenningspunt voor datering van een stuurpen/fiets)
- Bijlagen
-
- Custom-78-2.jpg (45.09 KiB) 729 keer bekeken
"de waarde van een klassieke fiets zit in het hart, niet in een portemonnee"